Aktivkohlefilter Abwasser

Diese Website schlägt vor, bereitete Daten vor, um eine Lösung zu finden, und verwandte Inspirationsbilder. Alle Informationen auf dieser Website zu Bildungszwecken.

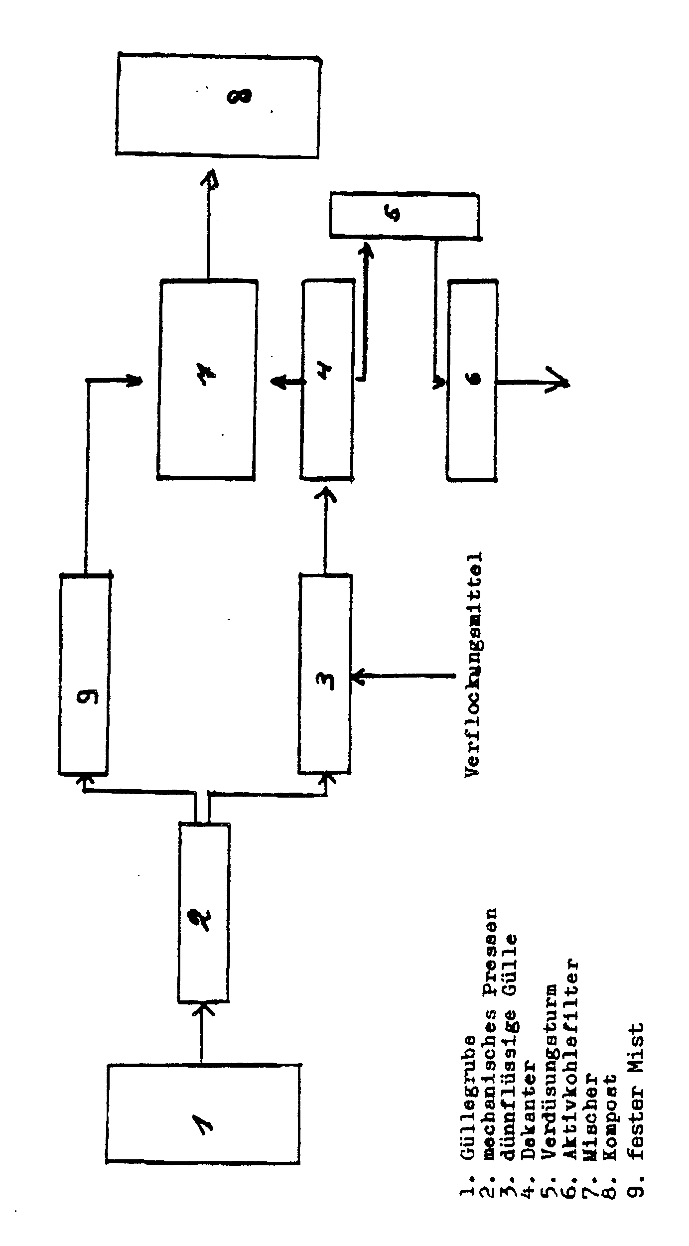
Aktivkohlefilter Abwasser. Um eine optimale und effiziente Beladungshhe der Aktivkohle zu erzielen werden mehrere Aktivkohlefilter in Reihe geschaltet denn dadurch kann eine maximale Beladung im ersten Filter erreicht wer. Ein gutes Beispiel sind Abwsser die in Klranlagen aufbereitet werden sollen oder.

Ep0145642b1 Process For Removing Noxious Matter From Off Gases Google Patents
Ep0145642b1 Process For Removing Noxious Matter From Off Gases Google Patents from www.google.com

Hierauf grndet die hohe Adsorptionskraft der Aktivkohlefilter. In der Wasseraufbereitung dient ein Aktivkohlefilter zur Entfernung bestimmter gelster oder suspergierter molekularer Verbindungen oder bestimmter emulgierter Flssigkeiten aus Wasser. Das Verfahren von Aktivkohle Wasserfiltern.

Die entfernten Schadstoffe werden aufgefangen und mithilfe der innovativen Selbstreinigungsfunktion im Abwasser entsorgt.

Der Einsatz mobiler Filter bietet mehrere Vorteile. Bei Aktivkohlefiltern kommt ebenfalls ein Granulat zum Einsatz um Verunreinigungen aus dem Wasser zu entfernen. Diese Leistung macht die Aktivkohle unverzichtbar fr viele Verfahren der chemischen Industrie zum Beispiel bei der Reinigung von Abluft und Abwasser. Sie mssen keine Kartuschen oder Filterpatronen wechseln.