Abwasser Firma

Diese Website schlägt vor, bereitete Daten vor, um eine Lösung zu finden, und verwandte Inspirationsbilder. Alle Informationen auf dieser Website zu Bildungszwecken.

Abwasser Firma. Kontaktformular Gerne beantworten wir Ihre Fragen oder erstellen Ihnen ein Angebot Kontaktieren Sie uns ber das Formular oder rufen Sie uns an. Punkte erhlt ein Eintrag fr Vollstndigkeit ausgefllte Eigenschaften und Bilder Bewertungen und ABWASSER24-Premiumangebot.

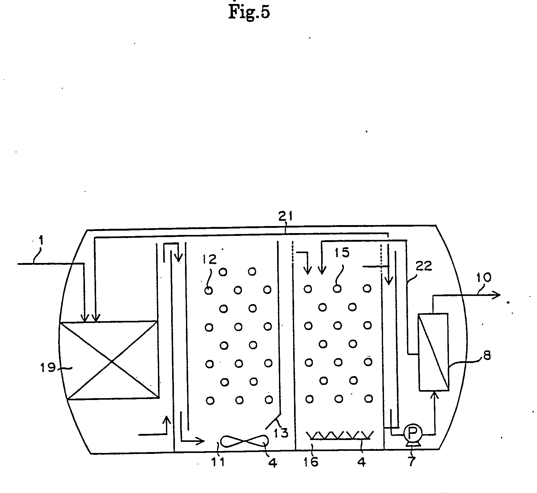
Ep0659693a2 Verfahren Zur Steuerung Der Entgiftung Cyanidischer Abwasser Google Patents
Ep0659693a2 Verfahren Zur Steuerung Der Entgiftung Cyanidischer Abwasser Google Patents from www.google.com

Schnell umfassend und punktgenau. Das Schweizer Traditionsunternehmen ORELL Tec AG OLAER Schweiz AG hat sich im Bereich Dmpfen Khlen Speichern und Filtrieren von Flssigkeiten einen Namen gemacht. Die Firma Centro Environmental GmbH mit der Postanschrift Schne Aussicht 4 51588 Nmbrecht wurde gemeldet im Handelsregister Siegburg unter der Handelsregisternummer HRB 10085.

Wir befassen uns in der Wassertechnik mit der Beratung von Druckschlagproblemen in Trink- und Abwasserpumpwerken der Berechnung von Druckschlgen mittels modernem Berechnungsprogramm und der Lieferung der entsprechenden.

Durch viel Eigeninitiative und einer groen Menge an kreativen Ideen zum Thema Industrieabwasserreinigung konnte sich die Firma bis zum Jahr 2001 so erfolgreich am Markt der Adsorptions- Fllungs- und Flockungsmittel etablieren dass man sich fr die Grndung der Hein Chemische Verfahrenstechnik GmbH. Altanlagen knnen nach Instandsetzung die wir in der Regel. Die Motivation innovative Lsungen zu erarbeiten und umzusetzen. Finden Sie jetzt was Sie suchen.